Van 1 Chiều 48
Giá bán:
Mô tả
Van 1 chiều 48 là sự kết hợp hoàn hảo giữa thiết kế đột phá và chất lượng hàng đầu. Được chế tạo từ đồng nguyên khối cao cấp, van này không chỉ đẹp mắt mà còn đảm bảo độ bền vượt trội, chịu được áp lực cao và chống ăn mòn hiệu quả. Với kích thước phi 48, van phù hợp cho hầu hết các ứng dụng trong hệ thống đường ống công nghiệp.
Thông số kỹ thuật van 1 chiều 48.
-Kích thước: Phi 48 - DN40
-Chất liệu: đồng thau
-Áp lực làm việc: Pn10
-Nhiệt độ: 120 độ C
-Kiểu kết nối: nối ren

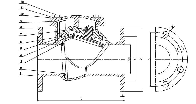
Cấu tạo, nguyên lý hoạt động.
Cấu tạo.
-Thân van: Sản xuất từ chất liệu đồng thau, đồng mạ crom… có màu sắc vàng đồng vô cùng bắt mắt, chứa đựng và cố định vị trí cho các bộ phận khác bên trong, chân ren sẽ được đúc ngay tại vị trí kết nối theo hai kiểu là ren trong và ren ngoài.
-Đĩa van: Được sản xuất từ vật liệu inox và là nơi lưu chất trực tiếp di chuyển qua, có khả năng chịu được áp lực tốt. Thiết kế kiểu lá lật với hình dạng là một mảnh kim loại mỏng hình chiếc lá nằm chắn ngang cửa van, một đầu phía được gắn vào trục van, có thể di chuyển quanh trục, một đầu phía dưới được thả tự do, có thể bị áp lực dòng chảy đẩy lên dễ dàng để cho phép lưu chất di chuyển qua van vào hệ thống.
-Trục van: Là bộ phận chịu lực nên được sản xuất từ thép, inox… chúng có chức năng cố định vị trí cho đĩa van, làm bệ đỡ chắc chắn cho đĩa van khi chứng thực hiện đóng/ mở dưới áp lực dòng chảy.
.jpg)
Nguyên lý hoạt động.
-Khi không có dòng lưu chất được bơm vào hệ thống, đĩa van sẽ nằm ở vị trí chắn lại cửa van.
-Khi thực hiện bơm một lượng lưu chất vào bên trong hệ thống, áp lực từ dòng chảy sẽ đẩy cho đĩa van mở ra bằng cách lật về phía trên, tạo thành một khoảng trống cho phép lưu chất di chuyển qua van dễ dàng.
-Khi thực hiện ngắt nguồn dòng chảy, không còn áp lực tác động, đĩa van sẽ rơi xuống về vị trí ban đầu, chắn lại cửa van, lúc này van sẽ quay về trạng thái đóng.
Hướng dẫn lắp đặt.
-Chuẩn bị van phải có kích cỡ phù hợp với đường ống.
-Vệ sinh sạch hai đầu đường ống cần lắp van
-Dùng máy tạo ren để tạo chân ren ngoài trên hai đầu đường ống chờ và vệ sinh lại để loại bỏ những mạt vụn kim loại.
-Quấn băng tan vào chân ren trên hai đầu đường ống chờ để tăng độ kín khít khi lắp van vào.
-Lựa đưa van vào đường ống sao cho chiều mũi tên trên thân van trùng với chiều mà dòng lưu chất sẽ chảy qua van.
-Lựa và siết chặt ren.
-Vận hành thử nghiệm: cho nước, lưu chất đi qua van và ngừng lại rồi kiểm tra xem có rò rỉ hay không.
Ưu điểm.
-Thân van bằng đồng nguyên khối chất lượng cao
-Thiết kế van kín giúp ngăn ngừa rò rỉ hiệu quả
-Cấu tạo đơn giản, dễ dàng lắp đặt và bảo trì
-Chịu được áp lực cao, phù hợp cho nhiều ứng dụng khắc nghiệt
-Tuổi thọ cao, giảm chi phí thay thế và sửa chữa
Ứng dụng van 1 chiều 48.
-Hệ thống cấp nước và thoát nước
-Hệ thống sưởi ấm và làm mát
-Hệ thống khí nén và thủy lực
-Hệ thống nhiên liệu và dầu
-Hệ thống hóa chất và dược phẩm
-Hệ thống phòng cháy chữa cháy
Lý do chọn mua van công nghiệp, van 1 chiều 48 tại cơ điện lạnh Eriko.
Cơ Điện Lạnh Eriko là Tổng Kho chuyên cung cấp phân phối, nhập khẩu van công nghiệp, van 1 chiều với nhiều ưu đãi hấp dẫn trên toàn quốc. Khi mua hàng tại chúng tôi quý khách được đảm bảo.
-Nhập khẩu chính hãng trên dây truyền hiện đại
-Hàng luôn sãn kho, số lượng lớn.
-Sản phẩm đầy đủ các chứng từ CO-CQ.
-Được bảo hành chính hãng tất cả các sản phẩm 1 năm.
-Đổi mới sản phẩm lỗi 1 đổi 1(3 ngày) khi phát hiện lỗi nhà sản xuất.
-Giao hàng miễn phí 5km quanh khu vực Hà Nội, hỗ trợ vận chuyển giao hàng toàn quốc.
-Chiết khấu cao cho các đại lý, công trình, dự ăn mua số lượng lớn.
-Cam kết thời gian giao hàng đùng quy định hợp đồng.
.jpg)
Mọi chi tiết thắc mắc về sản phẩm hoặc tư vấn báo giá van 1 chiều 48 vui lòng liên hệ tới:
CÔNG TY TNHH CƠ ĐIỆN LẠNH ERIKO
Địa chỉ: Lô 33 BT5 Khu đô thị mới Cầu Bươu, Xã Tân Triều, Huyện Thanh Trì, TP Hà Nội
Tel: (+84) 984666480 / Hotline: (+84) 984666480
VP -Kho Hàng TP HCM: B22/2 Đường Bạch Đằng, Phường 2, Quận Tân Bình, TP HCM
Nhà máy chế tạo thiết bị: Km17- Quán Gánh , Thường Tín, Hà Nội
Trang chủ







